OUR

TECHNOLOGY

Technology of Blue Carbon Production in SJ Low Temperature Dry Distillation Furnace

Brief introduction

SJ low temperature distillation furnace was designed and completed by China Coal Chemical Research Institute on basis of reheating vertical furnace in 1996. At present, more than 500 SJ low-temperature distillation furnaces have been designed and constructed in Yulin area of northern Shaanxi Province and Dongsheng area of Inner Mongolia. SJ-Yao low-temperature dry distillation furnaces are excellent ones for production of blue carbon at present. They have low investment, large output and good operation.

 

兰炭的固定炭高、比电阻高、化学活性高;含灰分低、铝低、硫低、磷低的特性,可代替冶金焦、无烟煤和木炭,在生产电石、金属硅,铁合金、硅铁、铬铁、硅锰、碳化硅,化肥的产品中广泛运用,比冶金焦效果好等优点。

Blue carbon has high fixed carbon, high specific resistance and high chemical activity. It has low ash content, low aluminum, low sulfur and low phosphorus. It can replace metallurgical coke, anthracite and charcoal.

 

It is widely used in the production of calcium carbide, metal silicon, ferroalloy, ferrosilicon, ferrochrome, silicomanganese, silicon carbide, and fertilizer products, and has better effects than metallurgical coke.








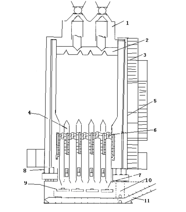
1. Auxiliary coal box; 2. Gas collecting umbrella; 3. Climbing ladder; 4. Flower wall; 5. Furnace body; 6. Small arch wall; 7. Coke discharging box; 8. Furnace bottom platform; 9. Pushing coke disc; 10. Scraper; 11. Water sealing box

  1. Production of blue carbon coal quality requirements:


Table 1

Note: Coking coal cannot be used, and the characteristics of cinder cannot be >4. The smaller the better.

2.

The coal quality of Shaanxi Shenmu blue coal production is as follows:

 

 Coal Mine Coal Quality Inspection Report Table 2

3. Process flow

1.2.1、 兰炭的生产主要以方形竖炉的形式进行,其流程工艺包括:

The production of blue coal is mainly carried out in the form of square shaft furnace. Its process includes:

A、洗煤工段——原料库房——炼焦竖炉——水洗塔——电捕焦油——煤气风机——煤气储罐

A. Coal Washing Section - Raw Material Warehouse - Coking Shaft Furnace - Water Washing Tower - Electric Tar Catching - Gas Fan - Gas Storage Tank

B、炼焦竖炉——熄焦箱——推焦机——刮板机——烘干机——兰炭成品库房

B. Coking Shaft Furnace-Coke Quenching Box-Coke Pusher-Scraper-Dryer-Blue Carbon Product Warehouse

C、水洗塔和电捕焦油——渣池——油池——氨水池——泵房——熄焦箱和水洗塔循环

C. Washing Tower and Electric Tar Catching - Residue Pool - Oil Pool - Ammonia Pool - Pump House - Coke Quenching Box and Washing Tower Cycle

After secondary crushing of raw coal, the lump size is 20-80 mm, which is fed into the coal storage bin above the retort furnace through the coal conveyor belt. The coal miner adds the lump according to the treatment capacity of the dry distillation furnace, and the amount added is based on the principle of no loss of material on the top of the furnace. Raw coal gradually decreases in the dry distillation furnace, then passes through the drying section, the dry distillate section and the cooling section. Finally, it is pushed down to the quenching pool by a pusher. The blue carbon is sent to the dryer by a scraper machine for drying. After drying, the transdermal belt conveyor is sent to the screening machine to screen the finished products of the blue carbon.

焦炉煤气从干馏炉顶部上升管和桥管进入煤气集气箱,在桥管设有喷淋口,用热环池循环水将煤气进行初冷,初冷后煤气从塔顶进入文丘里塔,来自热循环水从塔顶喷淋而下,煤气与下降的热循环水在文丘里管充分峰触,大约80%的焦油被冷却水带入塔底,冷却并除去大部分焦油的煤气从文丘里塔底导出、进入旋流板塔。在旋流板塔内;来自冷水循环系统的冷循环水与煤气逆流接触,煤气被继续冷却并除去其中所含焦油。

Coke oven gas enters the gas collecting tank from the riser and bridge pipe at the top of the dry distillation furnace. There is a sprinkler in the bridge pipe. The gas is first cooled by the circulating water of the hot ring pool. After the initial cooling, the gas enters the Venturi Tower from the top of the tower, and the hot circulating water sprays down from the top of the tower. The gas and the descending hot circulating water come into full contact in the Venturi pipe, about 80. % tar is brought to the bottom of the tower by cooling water, and the gas which cools and removes most of the tar is exported from the bottom of Venturi tower and enters the swirl plate tower. In the swirl plate column, the cold circulating water from the cold water circulating system countercurrent with the gas, and the gas is cooled continuously and the tar contained therein is removed.

 

After two-stage cooling and De-Tar treatment, the gas continues to descend, enters the electric tar trap to further remove the tar in the gas, and then enters the gas fan. Through the gas blower, part of the gas is sent to the dry distillation furnace, part to the blue carbon dryer, and the rest to the accident torch emptying, power generation or other purposes.

该工艺中各部分去除的焦油在各循环池内静止分层后,通过焦油泵送入焦油储罐。

The tar removed from each part of the process is statically stratified in each circulating pool and then pumped into the tar tank through the tar pump.


4. Brief introduction of each section:

1.3.1.备煤工段

4.1. Coal preparation section

备煤土段主要设施和设备:备煤场、装载机、受煤地坑、输送皮带、筛煤楼、除尘设备、面煤仓、皮带计量称、料斗、可逆式皮带、地磅。

Main facilities and equipment of preparation coal and soil section: equipment coal yard, loader, coal pit, conveyor belt, coal screen building, dust removal equipment, coal bunker, belt weighing, hopper, reversible belt, loadometer.

1.3.2.炭化工段:

4.2. Carbonization section:

炭化工段主要设施和设备包括:SJ-低温干馏方炉、集气阵伞、钢结构炉顶盖、辅助煤箱、上升管、桥管、煤气水封箱、排焦箱、推焦机、刮板机、水封槽、回炉加热设施、熄焦清水池、清水泵。

The main facilities and equipment in the carbonization section include SJ-low temperature dry distillation square furnace, gas collecting umbrella, steel structure furnace top cover, auxiliary coal box, riser, bridge pipe, gas water seal box, coke discharging box, coke pusher, scraper, water seal tank, return furnace heating facilities, coke quenching water tank and water pump.

Each single furnace is continuous production. The raw coal gradually decreases in the dry distillation furnace, and then passes through the drying section, the dry distillate section and the cooling section. After being cooled by a water-cooled jacket coke discharging box at the bottom of the furnace, the blue carbon formed by pyrolysis falls into the coke quenching pool through a coke pusher through the coke guide nozzle. The coke is quenched with clean water,

The coke-drawing disc and scraper immersed in the water seal are under the action of the transmission,the blue carbon is sent to the gas dryer for drying until the moisture content is 15-20%. The blue carbon is sent to the sieving machine by belt conveyor for sieving. The products of different grades are obtained and classified in the coke yard.

产生的焦炉煤气通过集气阵伞至干馏炉顶部上升管,经由桥管喷淋初步冷却分离后进入煤气集气管,然后送至文丘里塔,煤气流动动力来自流程中设置的煤气风机的吸力。

The generated coke oven gas passes through the gas gathering umbrella to the top riser of the dry distillation furnace, is initially cooled and separated by the bridge pipe, enters the gas collecting pipe, and is sent to the Venturi Tower. The gas flow power comes from the suction of the gas fan set in the process.


The dry distillate furnace adopts internal heating type, and the temperature in the dry distillate furnace is controlled by adjusting the ratio of heating gas to air. Gas and air branches are equipped with flowmeters, pressure gauges and control valves. The air blower adopts two standby one work schemes, and the air volume of each furnace is regulated separately. The gas system is equipped with pressure, temperature and flow measurement and control instruments to monitor the gas system.

4.3. Purification Section

净化工段主要设施和设备包括:文丘里塔、.旋流板塔、电捕焦油器、煤气风机、空气风机、循环水水泵:、焦油泵、清水循环池,热循环水拖,冷循环水池、换热器、玻璃钢冷却塔、焦油聚集槽,配电控制柜、仪表柜、测试压力温度流量仪表、循环水泵房、焦油泵房、配电仪表室。

The main facilities and equipment of the purification section include: Venturi Tower, Swirl Plate Tower, Electric Tar Collector, Gas Fan, Air Fan, Circulating Water Pump, Tar Pump, Clear Water Circulating Pool, Hot Circulating Water Tower, Cold Circulating Pool, Heat Exchanger, Glass Fiber Reinforced Plastic Cooling Tower, Tar Aggregation Pool, Distribution Control Cabinet, Instrument Cabinet, Test Pressure, Temperature flow meter, circulating water pump room, tar pump room, distribution instrument room.

4.4. Screening Coke Section

筛焦工段主要设施和设备

Main Facilities and Equipment of Coke Screening Section

皮带机、缓冲仓、筛焦楼、振动筛、除尘器、卸焦皮带、焦场、地磅、装载机。

Belt conveyor, buffer bin, screen coke building, vibrating screen, dust collector, unloading belt, focal field, load meter, loader.

筛焦工段工序和特点:

Procedures and characteristics of coke screening section:

通过烘干机烘干后的兰炭由出焦皮带机输送到缓冲仓。缓冲仓内可储存3小时兰炭生产量,缓冲仓下设置B800皮带将兰炭输送到筛焦楼,筛焦楼设置振动筛,把兰炭筛分成四种粒度等级,储存在筛焦楼底4个储仓,底仓设置B800出焦皮带,分别把4个焦仓的料送到卸焦皮带机上。卸焦皮带机设置在焦场,高度13米,不同规格的兰炭分别堆放,由装载机装车外售。全部皮带机均设置皮带走廊封闭运行。筛焦楼封闭运行设置除尘器。

The blue carbon dried by the dryer is conveyed to the buffer bin by the coke belt conveyor. The output of blue carbon can be stored for 3 hours in the buffer warehouse. B800 belt is installed under the buffer warehouse to convey the blue carbon to the sieve coke building. Vibrating screen is installed in the sieve coke building. The blue carbon sieve is divided into four particle sizes and stored in four warehouses at the bottom of the sieve coke building. B800 coke belt is installed at the bottom of the warehouse, and the materials of four coke warehouses are sent to the unloading belt machine respectively. The coke unloading belt conveyor is set in the coke field with a height of 13 meters. The different specifications of blue carbon are stacked separately and sold out by loaders. All belt conveyors are equipped with belt corridors for closed operation. A dust collector is installed in the closed operation of the sieve coke building.

4.5. Sewage Treatment Section

污水处理工段主要设施和设备包括:沉淀除油罐、气浮除油槽,调节池、厌氧池、好氧池、混合吸附池、终沉池、污水泵、供热和供水设施、配电设备

The main facilities and equipment of sewage treatment section include: sedimentation deoiling tank, air floatation deoiling tank, regulating tank, anaerobic tank, aerobic tank, mixed adsorption tank, final sedimentation tank, sewage pump, heating and water supply facilities, distribution equipment.

1.6.1、污水处理工段工序和特点

4.6. Procedures and Characteristics of Sewage Treatment Section

来自冷环池的氨水进入沉淀储油罐,经沉淀分层后,将重油回收至焦油储罐,氨水进入气浮除油槽,分离出轻油后,氨水进入调节池,补充生活污水和部分清水。

Ammonia water from the cold ring tank enters the precipitation tank. After stratification, heavy oil is recovered to the tar tank. Ammonia water enters the floatation deoiling tank. After separation of light oil, ammonia water enters the regulating tank to supplement domestic sewage and clean water.

1.6.2、热循环水系统

4.7. Thermal circulating water system

热循环水系统主要提供文丘里塔的氨水循环。主要过程包括:来自热循环池的循环氨水进入文丘里塔塔顶作为冷却水,在塔内与煤气进行热量交换,夹带着焦油的冷却水从塔底流出,进入热循环池,在热环池内油水分离,焦油被定期打入焦油储罐,循环水泵送入文丘里塔循环使用,当热环池水量不足时,由冷环池内循环水泵入补充。

The thermal circulating water system mainly provides the ammonia water circulation of Venturita. The main processes include: the circulating ammonia water from the thermal circulating pool enters the top of the Venturi tower as cooling water, exchanges heat with gas in the tower, the cooling water with tar flows out from the bottom of the tower, enters the thermal circulating pool, separates oil from water in the thermal circulating pool, and the tar is regularly pumped into the tar storage tank, and the circulating water is pumped into the Venturi tower for circulation. When the hot ring pool water is insufficient, the circulating water in the cold ring pool is pumped in to supplement.

1.6.3、冷循环水系统

4.8. Cold circulating water system

在换热器内被清水冷却的循环水,从塔顶进入旋流板塔进行煤气的二级冷却,交换热量后出塔的循环水温度大约45-55c,从塔底排出,进入冷循环池进行油水分离,焦油送去焦油储罐,循环水经换热器换热冷却,剩余循环水一部分补充至热循环池,一部分进入污水处理系统进行妙理,达标水补充吞熄焦池。冷循环池需定期补充清水。

The circulating water cooled by clean water in the heat exchanger enters the swirl plate tower from the top of the tower for secondary cooling of gas. After exchanging heat, the circulating water temperature of the outlet tower is about 45-55c. It discharges from the bottom of the tower and enters the cold circulating pool for oil-water separation. Tar is sent to the tar storage tank. The circulating water is cooled by heat exchanger and the remaining circulating water is one part. It is supplemented to the thermal cycle pool,other part of which enters the sewage treatment system for reasonable treatment, and the standard water is supplemented to the coke swallowing and extinguishing pool. Fresh water should be replenished regularly in the cold circulation pool.

1.6.4、换热器清水循环系统

4.9. Clean Water Circulation System of Heat Exchanger

换热器清水循环系统中换热器采用列管式换热器,主要作用是用清水冷却冷环池循环水,操作时冷循环水走管程,清水走壳程。循环水在热交换过程中放出热量,温度降低至45-50℃后进人旋流板塔进行煤气的二级冷却,而清水温度也由30^40℃升高至35^45℃送至凉水塔进行冷却后到清水循环池循环使用。

In the clear water circulation system of heat exchanger, the heat exchanger adopts tubular heat exchanger. Its main function is to cool the circulating water in the cold ring pool with clean water. The cold circulating water runs through the tube and clean water runs through the shell. The circulating water emits heat in the process of heat exchange. When the temperature drops to 45-50 C, it enters the swirl plate tower for secondary cooling of gas, and the temperature of clean water rises from 30 ^ 40 C to 35 ^ 45 C, which is sent to the cooling tower for cooling and then circulates to the circulating pool of clean water.

5. Requirements of raw materials for producing blue carbon in SJ low-temperature retort furnace:

煤的指标:

Coal indicators:

SJ low-temperature dry distillate furnace parameters for production of blue carbon products:

产品检验: 1-3

Product Inspection: Table 1-3